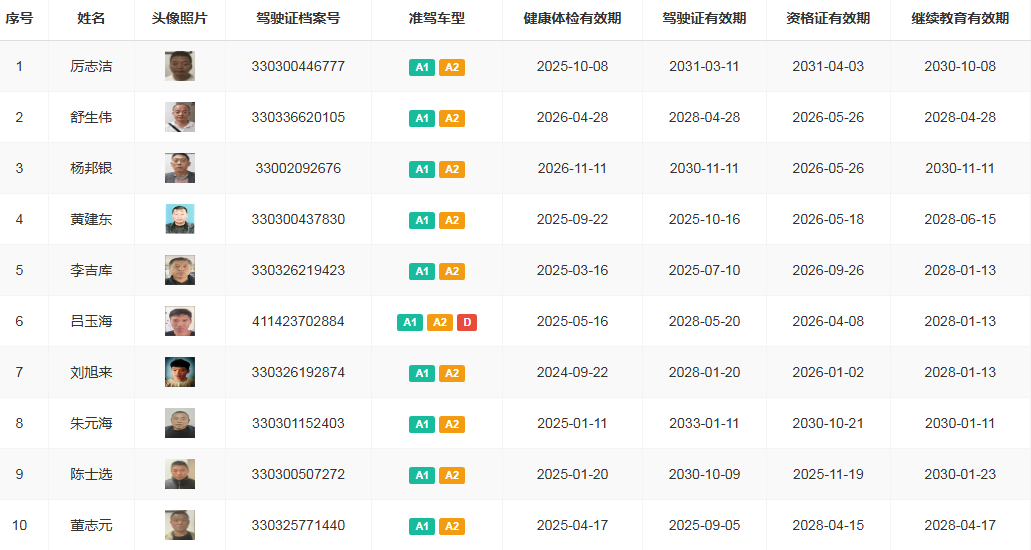
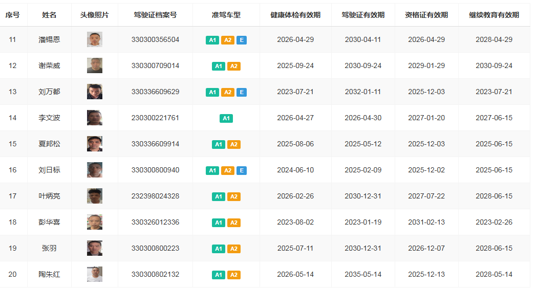
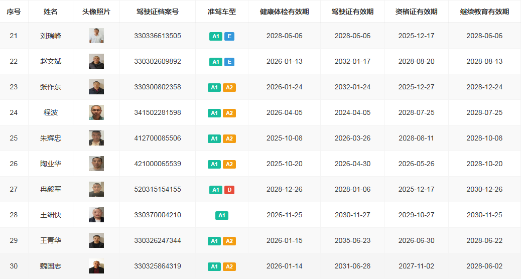
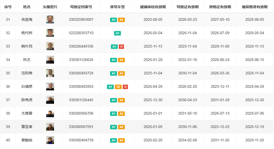
公司安全驾驶员团队
一、安全驾驶:责任重于泰山
安全驾驶不仅是一项技能,更是一份沉甸甸的责任。每一次平稳起步、每一次谨慎变道、每一次礼让行人,都是对生命的敬畏、对规则的坚守。过去一年,我们的优秀驾驶员们以“零事故、零违章”的优异成绩,诠释了什么是真正的职业操守。他们用行动证明:安全不是口号,而是刻在骨子里的习惯;不是偶尔的幸运,而是日复一日的严谨。 二、榜样力量:平凡中的伟大
我们的驾驶员团队中,有人连续三年无违章记录,有人多次在极端天气下确保乘客安全,有人主动分享驾驶经验帮助团队提升……他们用平凡岗位上的点滴付出,筑起了公司安全运营的坚实屏障。他们的故事告诉我们:优秀不是遥不可及的标杆,而是脚踏实地、精益求精的坚持。
三、共同承诺:安全之路永不止步
安全驾驶没有终点,只有连续不断的新起点。希望全体驾驶员以获奖者为榜样,做到以下三点:
1、强化安全意识:时刻绷紧安全弦,将“安全第一”融入每一次操作;
2、提升技能水平:定期参加培训,熟悉车辆性能,掌握应急处理能力;
3、践行文明驾驶:尊重交通规则,礼让行人,杜绝疲劳驾驶和分心行为。
公司也将持续完善安全管理制度,优化车辆保障措施,为驾驶员提供更安全、更高效的工作环境。
四、展望未来:携手共筑安全长城
安全是企业的生命线,更是每个家庭的幸福线。让我们以此次表彰为新的起点,将安全文化内化于心、外化于行,共同打造一支“技术过硬、作风优良、安全可靠”的驾驶员队伍,为公司高质量发展保驾护航!




